出油率的高低是用戶選擇螺旋榨油機的因素之一,今天我們就說下影響螺旋榨油機出油率因素之榨膛壓力。
當榨螺主軸的轉速穩定時,入榨料溫度、水份可以通過該工序中的蒸缸進行調節,而榨膛壓力的大小在榨膛壓縮比給定的情況下,則與榨膛進料量的大小有關。榨膛壓力的大小可通過螺旋榨油機的主電機的電流大小來反映,因此,合理的進料量能使螺旋榨油機在工作時達到理想的工作量。
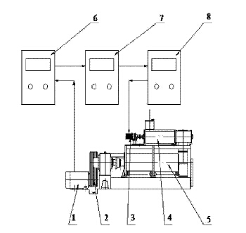
啟隆機械生產的螺旋榨油機采用自動控制喂料,在工作時,入榨料(又稱榨料)經過喂料電機驅動的喂料機構送入螺旋榨油機的榨膛內,主電機經驅動機構驅動的榨膛內的螺旋主軸轉動,向前推進榨料并對榨料進行擠壓,擠壓所產生的壓力大小可由主電機電流大小反映,并在數顯電流表顯示出來,該電流信號傳送至PLC控制器,PLC控制器讀取主電機電流信號后,與其預先設置的預定范圍值進行比較,獲得一個比較結果,并根據比較結果輸出相應的控制信號,即轉換成頻率信號反饋給喂料電機變頻器,而改變喂料機構電機的轉速,進而改變喂料機構向榨膛內榨料的送料量,以達到改變榨膛壓力大小的目的。
當主電機的電流值過大時,表示榨膛壓力高,PLC控制器控制喂料電機變頻器減慢喂料電機的轉速,以減少向榨膛內的喂料量;當主電機的電流值過小時,表示榨膛壓力低,PLC控制器控制喂料電機變頻器將加快喂料電機轉速,增加向榨膛內的喂料量。因此,在螺旋榨油機的榨膛壓縮比保持不變時,螺旋榨油機內榨膛壓力的自控和穩定,達到理想的生產。